联系人:杜经理
销售电话:16652863761
公司地址:山东省潍坊市高新区光电路155号光电产业加速器(一期)
16652863761
PRODUCT CENTER
联系人:杜经理
销售电话:16652863761
公司地址:山东省潍坊市高新区光电路155号光电产业加速器(一期)





【产品简介】一、机械一体式风速风向传感器技术指标供电:DC12V工作环境:-40~70℃,湿度≤100%无凝露通信接口:RS485工作电流:55mA DC12V启动风速:0.5m/s最短数据间···
一、机械一体式风速风向传感器技术指标
供电:DC12V
工作环境:-40~70℃,湿度≤100%无凝露
通信接口:RS485
工作电流:55mA DC12V
启动风速:0.5m/s
最短数据间隔:0.5S
壳体材料:高分子工程塑料
二、机械一体式风速风向传感器参数
| 参数 | 测量范围 | 分辨率 | 精度 |
| 风速 | 0-60m/s | 0.01m/s | ±0.2m/s |
| 风向 | 0-360度 | 0.1度 | ±1度 |
| 平均风速 | 0-60m/s | 0.01m/s | ±0.2m/s |
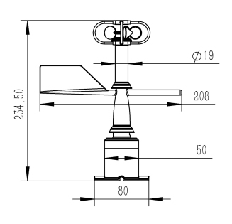
三、机械一体式风速风向传感器外观尺寸

四、机械一体式风速风向传感器安装要求

安装时底座箭头N的方向需指向正北方向(如上图所示)








土壤墒情监测站是现代农业生产的关键设施,它通过自动化方式实时获取土壤水分信息,为农业灌溉和水资源管理···
农业四情监测指对墒情、苗情、虫情、灾情的综合监测。这一体系依托智能设备实现数据采集,已成为精准农业的···
车载气象站是一种安装在移动车辆上的气象观测设备。它能够实时采集所处位置的温度、湿度、气压、风速和风向···
雨量监测站是现代水文气象观测网络的关键组成。其核心任务是精准、自动地测量自然界的降水数据。这些数据是···
